Notice: A non well formed numeric value encountered in /var/www/gs-staging/templates/rt_solarsentinel/rt_utils.php on line 184
Münzprüfer Fachwissen Teil 7
Wurde in den vergangenen technischen Beiträgen, in zwei Folgen der NRI-EMP G 18 im Detail beschrieben und abgehandelt, so wird in den zwei Folgeartikeln ausschließlich der NRI-EMP G 13 erläutert und im Detail beschrieben.
Das Modell G 13 wurde speziell für solche Geräte und Automaten konzipiert bei welchen die Einbaumaße durch den Geräteaufbau eingeschränkt sind und die Verwendung der maßlich „größeren EMP-Modelle" nicht gegeben ist.
Der Vorteil des G 13, gegenüber dem G 18-Modell liegt in der Kompaktbauweise mit kleinsten Abmessungen. Die Prüfung und Messung der Münzen wird nach der gleichen Methode wie beim G 18 vorgenommen, so daß die gleiche optimale Prüfung der Münzen gewährleistet ist.
Auf der Abbildung 1 ist der EM P G 13 fotografisch dargestellt. Auf derAbbildung la sind die baulichen Abmessungen des G 13 ersichtlich.
Auf den Abbildungen 4,4a, 4b, wird der konstruktive Aufbau des G 13 - in Form von Zusammenstellungsplänen - dargestellt. Die einzelnen Baukomponenten sind benannt.
Auf Abbildung 4a ist der Zusammenstellungsplan G 13 mit 2-PreisStepper zu sehen.
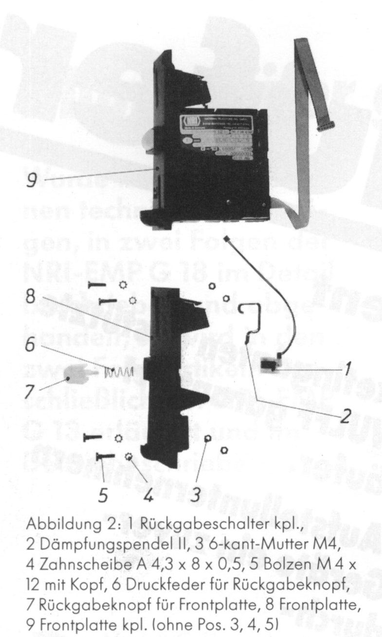
Auf derAbbildung 2 ist der G 13 mit der Frontplatte dargestellt, die Bauteile sind in der Teileliste bezeichnet.
Auf der Abbildung 3 ist die G 13 Familie ohne Stepper (oben) und mit Stepper-Platine (unten) dargestellt.
Die Stepper-Ausführungen (1 und 2-Preis) sind als besonders zweckmäßig und vorteilhaft für den Einsatz beziehungsweise die Verwendung von Unterhaltungs-Automaten wie Flipper, Video-Automaten und Sportautomaten, wo über höhere Preiseinsätze Bonus-Kredite gegeben werden können.
Die baulichen Maße des EMP G 13 sind so gehalten, daß die Austauschbarkeit zum mechanischen Münzprüfer Modell G 04 gegeben ist. Einer Umrüstung auf EMP, welche zurZeit mittels mechanischer Münzanlagen betrieben werden, steht also nichts im Wege. Wegen der optimalen Prüfsicherheit von Münzen und der geringen Störanfälligkeit gegenüber mechanischer Münzprüfern ist eine Umrüstung zu empfehlen, wenn Störanfälligkeit, Falschgeldprobleme und Service-Kosten bezüglich der Münzanlage beträchtlich sind.
Aufgrund der vielen Vorteile, welche der EMP bietet, ist zukunftsweisend Anwendern und AutomatenHerstellern zu empfehlen, Automaten - im Zeitalter der Elektronik - künftig grundsätzlich mit elektronischen Münzprüfern auszustatten. Die Tendenz des „Umschalten auf EMP" für Exportgeräte ist bereits vorgegeben.
Zusammengefaßt die wesentlichen Vorteile des EMP G 13:
- Justieren auf jede beliebige Münzannahme mittels Einstellgerät
- geringe Geräte-Abmessungen
- präzise Münzmessung und die Möglichkeit des Ausdruckens der Werte mit Hilfe des Einstellgerätes ermöglichen schnelles und sicheres Reagieren auf Falsch- und Fremdgeld
- austauschbar zum mechanischen NRI-Münzprüfer G-04
- je zwei Prüfkanäle (normal/eng) für 1,-/2,-/5,- DM-Münzen
- Kanalwahl eng durch einfaches Umschalten am DIL-Schalter: noch größere Falschgeldsicherheit
Technische Daten
Annahme: 6 Münzen, Durchmesser 15 bis 31 mm, Dicke: 1,5 bis 2,6(3,3) mm, Abmessungen: Höhe: 102 mm, Breite: 89 mm, Tiefe: 52 mm, Tempe
raturbereich: 0 °C bis 55 °C, Versorgungsspannung: 12 Volt D.C. + 3 Volt/- 1 Volt, Ausführung auf Wunsch auch mit Frontplatte und Stepper.
Die Anwendung und der Einsatz der EMP G 13 ist in Video-Automaten, Flipper-Automaten (Pin Balls), Sportgeräte, Elektronik-Darts, Billards, Snooker und Waren- und Getränke-Verkaufsautomaten möglich.
Für Außen- und stromunabhängige Automaten kann die Versorgung - des EMP auch über eine 12 Volt Batterie rie erfolgen. Die Batteriekapazität muß allerdings der Stromaufnahme des EMP entsprechen, das heißt von - der Kapazität her mindestens einer Motorrad-Batterie sein.
Sicherheitsvorrichtung am EMPG 13: Eine Münzsperrung über eine gemeinsame Sperrleitung für alle Münzen ist vorhanden.
Die Sperrung einzelner Münzen kann am DIL-Schalter eingestellt werden.
Nachfolgend der vorangegangenen Konzept-Beschreibung und der bildlichen lichen Darstellungen wird im zweiten Teil der nächsten Ausgabe, eine zu-, sammengefaßte technische Anleitung des EMP G 13 aufgezeigt.
Ende der Artikelserie
Abbildungen







Aus dem Automatenmarkt 1991
Notice: A non well formed numeric value encountered in /var/www/gs-staging/templates/rt_solarsentinel/rt_utils.php on line 184