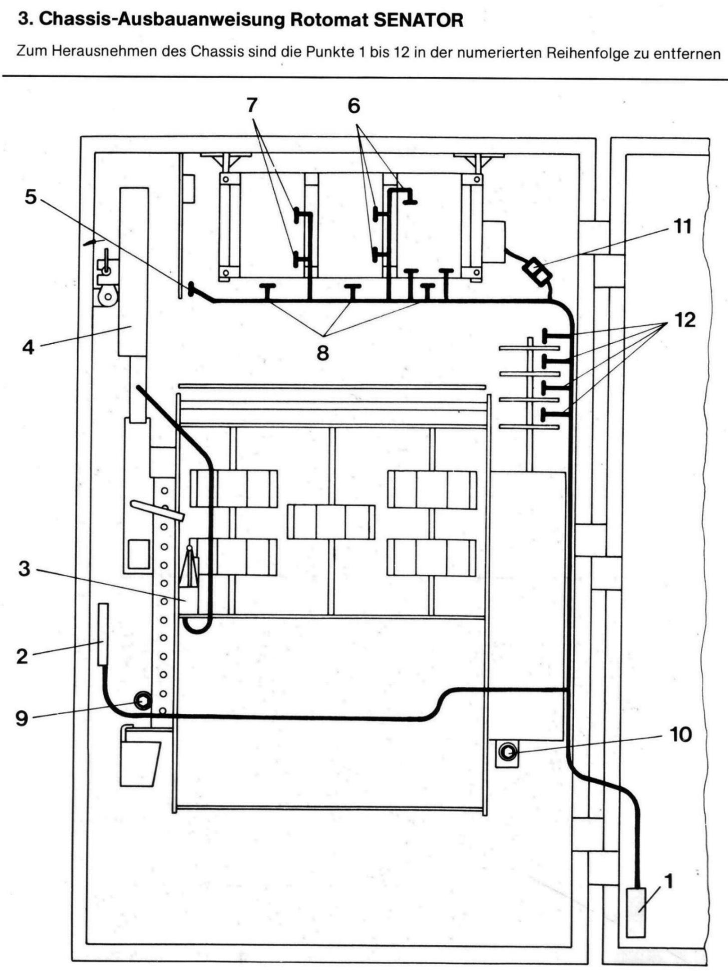
Abbildung aus: Technische Beschreibung Rotomat Senator. Wulff Apparatebau Berlin, heute: Bally Wulff.